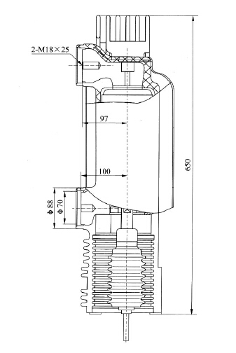
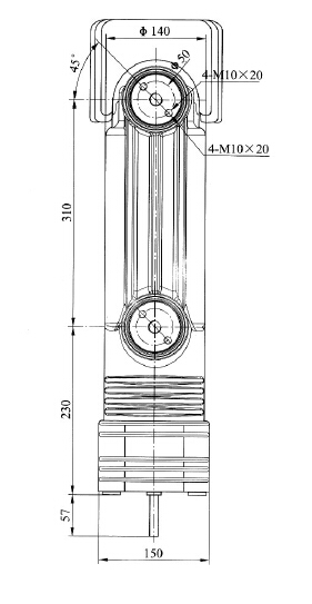
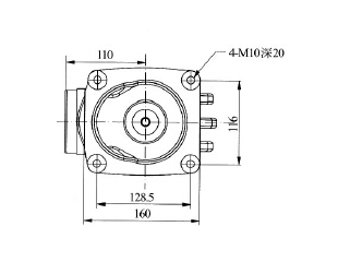
Model:EEP-24/2500-31.5
Category:Embedded poles
 
     

Specifications of Embedded Pole
| Main Technical Specification | Unit | Specification | 
| 2500 | ||
| Rated voltage | kV | 24 | 
| Rated current | A | 2500 | 
| Rated frequency | HZ | 50/60 | 
| Short time power frequency withstand voltage(1min) | kV | 65(79) | 
| Lightning impulse withstand voltage | kV | 125(145) | 
| Rated short circuit breaking current | kA | 31.5 | 
| Rated peak withstand current | kA | 80 | 
| Rated short circuit making current | kA | 80 | 
| Rated short time withstand current | kA | 31.5 | 
| Rated duration of short circuit | S | 4 | 
| Rated breaking current of single capacitor bank | A | 400 | 
| Rated breaking current of back to back capacitor bank | A | 400 | 
| Rated operating sequence | O-0.3s-CO180s-CO | |
| Breaking operations of rated short circuit breaking current | Times | 20 | 
| Rated mechanical endurance | Times | 10000 | 
| Closing force due to bellow and atmosphere | N | 210±50 | 
| Force required to hold contacts open at full stroke | N | 340±50 | 
| Circuit resistance at lower limit of rated contact force | mΩ | ≤20 | 
| Contacts limit erosion | mm | 3 | 
| Gas pressure inside vacuum interrupter | Pa | ≤1x10?3 | 
| Localize discharge | Pc | ≤5 | 
Mechanical Data Required for the Matched Vacuum Switchgear
| Main Technical Specification | Unit | Specification | 
| 2500 | ||
| Clearance between open contacts | mm | 13±1 | 
| Average opening speed | m/s | 1.3±0.2 | 
| Average closing speed | m/s | 0.7±0.2 | 
| Rated of contact force | N | 3200±200 | 
| Contact bouncing duration at closing operation | ms | ≤2 | 
| Out of simultaneity of contact closing and opening | ms | ≤2 | 
| Maximum rebound during opening | mm | ≤2 | 
Prev archive:Embedded Poles
Next archive:Embedded Poles